×
 

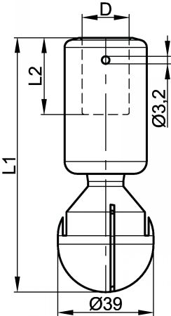
SLOTTED CLEANING NOZZLE - FREE ROTATION - STAINLESS STEEL 316L Inox 316L (Model : 8091)

8091 SLOTTED CLEANING NOZZLE - FREE ROTATION - STAINLESS STEEL 316L Inox 316L

Photos

Dessins techniques

Quantity
 
CAD
+
 
NC
NC
680912-075G
Goupillé 3/4"
180° Bas
19,2
103,3
31,1
2,6
67
0,34
8422200000
 
NC
NC
680912-075F
Femelle G3/4"
180° Bas
33,5
90,3
31,1
2,6
67
0,23
8422200000
 
NC
NC
680913-075G
Goupillé 3/4"
360°
19,2
103,3
13
2,6
100
0,34
8422200000
 
NC
NC
680913-075F
Femelle G 3/8"
360°
33,5
90,3
13
2,6
100
0,23
8422200000

Retour en haut