×
 

VANNE À GUILLOTINE PN10 CORPS FONTE GJL250 - PELLE INOX 304 - SIÈGE MÉTAL (Modèle : 58493)

58493 VANNE À GUILLOTINE PN10 CORPS FONTE GJL250 - PELLE INOX 304 - SIÈGE MÉTAL

Photos

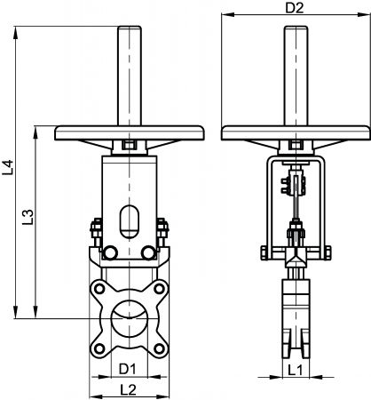
Dessins techniques

Informations

Vanne à guillotine Atex PN10 - Corps fonte GJL250 (GG25) - Pelle inox 304 - Siège métal

La vanne à guillotine est unidirectionnelle.

> Diamètres disponibles : du DN50 au DN300
> Température (métal) : -10°C à +240°C
> Pression de service : 10 bar jusqu'au DN250, 6 bar pour le DN300
> Raccordement sur bride PN10 selon la dimension de la vanne
> Cette vanne à guillotine est conforme à la réglementation ATEX II 2GD, elle est utilisable en atmosphère explosive

ATTENTION : la fermeture métal / métal ne garantit pas une étanchéité absolue.

Options de commande par levier, réducteur, actionneur électrique, actionneur pneumatique et bidirectionnelle disponibles sur demande. Pour toute demande spécifique concernant les vannes à guillotine, contactez-nous.

Retrouvez la Vanne à guillotine PN10 siège NBR et la Vanne à guillotine PN10 siège EPDM .

Quantité
 
CAD
+
CAD
NC
NC
458493-150
Métal
150
6"
150
225
60
210
459
652
18,00

Retour en haut