×
 

MINI VANNE MÂLE / FEMELLE GAZ 1000 LBS / PN63 - PASSAGE RÉDUIT Inox 316 (Modèle : 58106)

58106 MINI VANNE MÂLE / FEMELLE GAZ 1000 LBS / PN63 - PASSAGE RÉDUIT Inox 316

Photos

Dessins techniques

Informations

Mini vanne mâle / femelle Gaz - PN63 - Inox 316

Caractéristiques :
> Dimensions : DN8 à DN25
> Passage réduit
> Pression nominale : jusqu'à PN63 (1000 lbs)
> Température de service : de -20ºC à +180ºC
> Joint PTFE et FKM pour assurer l'étanchéité
> Corps poli
> Filetage et taraudage Gaz selon la norme ISO 7-1

Quantité
 
CAD
+
 
CAD
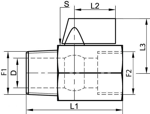
D
NC
458106-8
8
1/4"
7
R 1/4"
Rp 1/4"
43
23
25
21
0,09
CAD
D
NC
458106-10
10
3/8"
7
R 3/8"
Rp 3/8"
43
23
25
21
0,09
CAD
D
NC
458106-15
15
1/2"
9
R 1/2"
Rp 1/2"
46
23
27,5
24,5
0,11
CAD
D
NC
458106-20
20
3/4"
12,5
R 3/4"
Rp 3/4"
54
23
31
31
0,19
CAD
D
NC
458106-25
25
1"
15
R 1"
Rp 1"
65
23
34,5
38
0,33

Retour en haut