×
 

EMBOUT À CHAPE À SERTISSAGE MANUEL INOX A4 (Modèle : 433919)

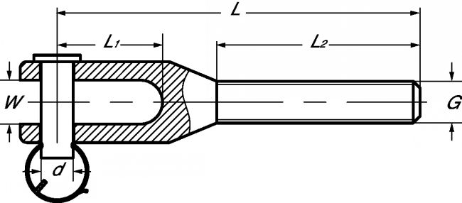
433919 EMBOUT À CHAPE À SERTISSAGE MANUEL INOX A4

Photos

Dessins techniques

Quantité
 
CAD
+
 
D
NC
433919-3
3
3,5
6
6
63
 
NC
NC
433919-4
4
4,5
8
8
70
 
D
NC
433919-5
5
6
10
10
83
 
D
NC
433919-6
6
7
12
12
95
 
NC
NC
433919-8
8
9
14
14
127

Retour en haut