×
 

Ecrou bouchon MACON avec chaînette

64119 ECROU BOUCHON AVEC CHAÎNETTE Inox 304

Photos

Dessins techniques

Informations

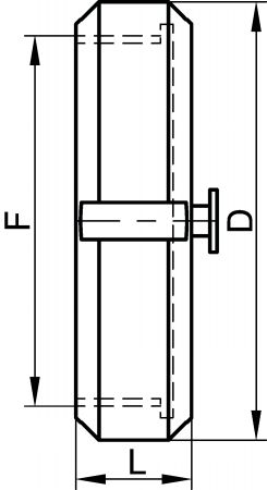
Ecrou bouchon avec chaînette - Inox 304

> Dimensions disponibles : du DN40 au DN100 mm

Livré sans joint, à commander séparément
Ecrou avec gorge
Compatible avec clip de fixation à chaînette (modèle 61120)

Quantité
 
CAD
+
CAD
D
NC
264119-40
Inox 304
40
70
M55 x 3
25
0,33
CAD
D
NC
264119-50
Inox 304
50
79
M67 x 3
25
0,37
CAD
D
NC
264119-60
Inox 304
60
94
M79 x 3,5
25
0,50
CAD
D
NC
264119-70
Inox 304
70
105
M90 x 3,5
25
0,62
CAD
D
NC
264119-80
Inox 304
80
117
M102 x 4
25
0,80
CAD
NC
NC
264119-100
Inox 304
100
140
M125 x 4
26
1,05

Retour en haut