×
 

ACTIONNEUR ÉLECTRIQUE 90° - IP68 (Modelo : 50844)

50844 ACTIONNEUR ÉLECTRIQUE 90° - IP68

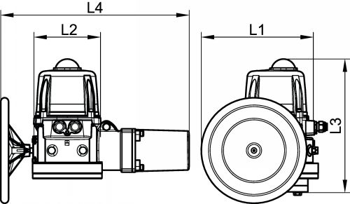
Dessins techniques

Informaciónes

Actionneur électrique 90° - IP68

Environnement :
- Température de service de l'actionneur : -20°C à +70°C
- Protection IP 68 avec carter aluminium et capot plastique
- Indicateur visuel de position

Fonctionnement :
- Actionneur électrique 90°
- Facteur de marche S4 - 50% (norme IEC34). Jusqu'à 150 démarrages / heure.
- 4 contacts fin de course (2 pour le contrôle moteur + 2 auxiliaires réglables pour rétro-information)
- Présence d'une résistance anti-condensation régulée
- Commande manuelle de secours avec système de débrayage par ressort (VR) ou par volant (VS ou VT)
- Limiteur de couple électronique (sauf 400V triphasé)
- Relais de report de défaut (sauf 400V triphasé)
- Connexion RS485 (sauf 400V triphasé)
- Module de communication Bluetooth (en série uniquement sur les modèles VT600 et VT1000 sans triphasé)

Liaisons extérieures :
- Mode d'entrainement par étoile
- Platine de fixation ISO

Raccordement électrique :
- 2 presse-étoupe ISO M20x1,5

En Option :
- 1 ou 2 connecteur(s) M12 3P+T, capot aluminium, module de communication Bluetooth (sauf pour les modèles en 400V triphasé) ... (nous consulter pour d'autres options)

Choix du couple : pour un bon fonctionnement de l'actionneur, prendre un coefficient de sécurité minimum de 1.5 sur le couple maximum de la vanne à motoriser.

Retrouvez également l'actionneur électrique 90° Failsafe IP68, l'actionneur électrique 90° avec module de positionnement et l'actionneur électrique 180° IP68.

Cantidad
 
CAD
+
CAD
D
NC
950844-25A
VR25A
25
100V à 240V 50/60Hz et 100V à 350V DC
45
7
F05 / F07
17
192
170
201
x
3,50
8501200090
CAD
D
NC
950844-25B
VR25B
25
15V à 30V 50/60Hz et 12V à 48V DC
45
7
F05 / F07
17
192
170
201
x
3,50
8501200090
CAD
NC
NC
950844-25C
VR259
25
400V triphasé 50/60Hz
52
10
F05 / F07
17
192
170
201
x
3,50
8501200090
CAD
D
NC
950844-45A
VR45A
45
100V à 240V 50/60Hz et 100V à 350V DC
45
15
F05 / F07
17
192
170
201
x
3,50
8501200090
CAD
D
NC
950844-45B
VR45B
45
15V à 30V 50/60Hz et 12V à 48V DC
45
15
F05 / F07
17
192
170
201
x
3,50
8501200090
CAD
NC
NC
950844-45C
VR459
45
400V triphasé 50/60Hz
52
10
F05 / F07
17
192
170
201
x
3,50
8501200090
CAD
D
NC
950844-75A
VR75A
75
100V à 240V 50/60Hz et 100V à 350V DC
45
20
F05 / F07
17
192
170
201
x
3,50
8501200090
CAD
NC
NC
950844-75B
VR75B
75
15V à 30V 50/60Hz et 12V à 48V DC
45
20
F05 / F07
17
192
170
201
x
3,50
8501200090
CAD
NC
NC
950844-75C
VR759
75
400V triphasé 50/60Hz
52
15
F05 / F07
17
192
170
201
x
3,50
8501200090
CAD
NC
NC
950844-100A
VS100A
100
100V à 240V 50/60Hz et 100V à 350V DC
45
15
F07 / F10
22
209
170
258
275
5,50
8501200090
CAD
NC
NC
950844-100B
VS100B
100
15V à 30V 50/60Hz et 12V à 48V DC
45
15
F07 / F10
22
209
170
258
275
5,50
8501200090
CAD
NC
NC
950844-100C
VS1009
100
400V triphasé 50/60Hz
135
10
F07 / F10
22
209
170
258
275
5,50
8501200090
CAD
NC
NC
950844-150A
VS150A
150
100V à 240V 50/60Hz et 100V à 350V DC
45
30
F07 / F10
22
209
170
258
275
5,50
8501200090
CAD
D
NC
950844-150B
VS150B
150
15V à 30V 50/60Hz et 12V à 48V DC
45
30
F07 / F10
22
209
170
258
275
5,50
8501200090
CAD
NC
NC
950844-150C
VS1509
150
400V triphasé 50/60Hz
135
20
F07 / F10
22
209
170
258
275
5,50
8501200090
CAD
D
NC
950844-300A
VS300A
300
100V à 240V 50/60Hz et 100V à 350V DC
45
60
F07 / F10
22
209
170
258
275
5,50
8501200090
CAD
NC
NC
950844-300B
VS300B
300
15V à 30V 50/60Hz et 12V à 48V DC
45
60
F07 / F10
22
209
170
258
275
5,50
8501200090
CAD
NC
NC
950844-300C
VS3009
300
400V triphasé 50/60Hz
135
35
F07 / F10
22
209
170
258
275
5,50
8501200090
CAD
NC
NC
950844-600A
VT6008
600
230V 50/60Hz
250
38
F10 / F12
36
299
170
306
483
22,00
8501200090
CAD
NC
NC
950844-600C
VT6009
600
400V triphasé 50/60Hz
250
38
F10 / F12
36
299
170
306
483
22,00
8501200090
CAD
NC
NC
950844-1000A
VT10008
1000
230V 50/60Hz
250
38
F10 / F12
36
299
170
306
483
22,00
8501200090
CAD
NC
NC
950844-1000C
VT10009
1000
400V triphasé 50/60Hz
250
38
F10 / F12
36
299
170
306
483
22,00
8501200090

Retour en haut